旋风分离器的未来发展趋势展望
旋风分离器作为一种重要的固液或气固分离设备,经过不断的优化设计和创新,不仅在性能
如何选择合适的气液分离器型号和规
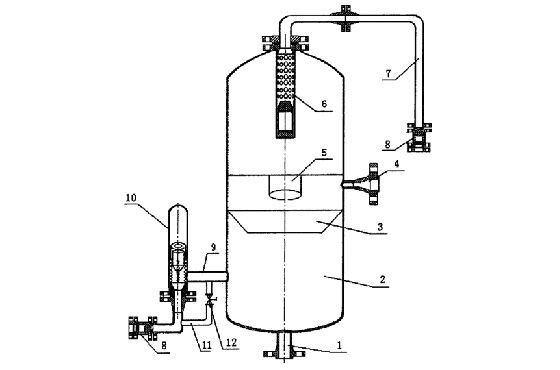
气液分离器是一种常见的设备,用于将气体和液体分离,以确保系统的正常运行和提高分离
旋风分离器温度高如何处理
旋风分离器是一种常用的粉尘分离设备,用于将气体中的固体颗粒分离出来,提高环境的清
旋风分离器:原理、特点和应用案例
旋风分离器是一种常用的固体颗粒与气体或液体分离设备,通过旋转气流的原理实现分离。
导致气液分离器液位高的原因有哪些
气液分离器是工业过程中常用的设备,用于将气体和液体进行分离。然而,在使用过程中,
旋风分离器的原理及应用领域分析
旋风分离器是一种常见的固液或气固分离设备,通过离心力和切向流动的原理将固体颗粒从
叶片分离器能除湿吗?
叶片分离器是一种用于处理潮湿空气的设备,它主要通过旋转叶片的力量将携带水汽的空气
叶片分离器能分离不饱和蒸汽吗?
叶片分离器是一种常用的蒸汽分离设备,主要用于将蒸汽中的液滴或颗粒物分离出来,提高
