油气分离器发生故障会有哪些表现?
油气分离器乃是发动机的一项关键构成部件,其主要功能在于把发动机进气里的油予以分离
油气分离器安装位置在哪?
油气分离器一般安装在发动机曲轴箱的通风口或排气管上。油气分离器也被称为废气阀。也
汽车油气分离器作用有哪些?
油气分离器的作用是将机油从曲轴箱废气中分离出来,并减少从曲轴箱排气口排到发动机外
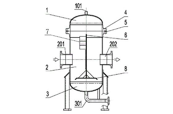
气液分离器是如何进行分离工作的?
气液分离器是防止压缩机进气口吸进防止液体(润滑油或制冷剂)产生液击,损坏压缩机内
汽液分离器是储液罐吗?
汽液分离器不是储液罐。汽液分离器安装在压缩机进气口,储液器安装在冷凝器出口和干燥
卧式分离器和立式分离器有什么区别
油气田使用的分离器主要有两种形式:立式和卧式分离器。主要区别如下:(1)在立式分
叶片式气液分离器有哪些常用材质?
叶片式气液分离器的常用材质主要包括以下几种:1. 不锈钢特点:不锈钢具有优异的耐
气液分离器分离的液体去哪了?
气液分离器分离的液体主要流向了以下几个方向:1、回油孔:一部分液体通过气液分离器
