旋风分离器:功能、原理与性能指标
旋风分离器设备的主要功能是尽可能去除输送介质气体中携带的固体颗粒杂质和液滴,实现
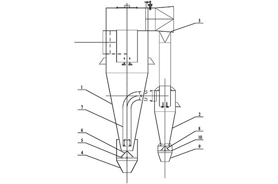
旋风分离器的结构是如何设计的?
旋风分离器采用立式圆筒结构,内部沿轴向分为集液区、旋风分离区、净化室区等内部旋风
旋风分离器性能影响因素与选型原则
气流在旋风分离器中的流动和分离机制非常复杂,因此影响旋风分离器性能的因素很多,其
旋风分离器特性、应用限制及选型要
旋风分离器不适用于处理粘度大、湿含量高、腐蚀性大的粉尘。气体量的波动对除尘效果和
旋风分离器选型依据与注意事项
在选择旋风分离器类型时,确定其主要尺寸的依据主要包括三个方面:粉尘气体的处理能力
旋风分离器在工业中的应用
旋风分离器是分离流体中混合颗粒的装置。它利用流体中颗粒的密度与流体本身密度的差异
制粉系统旋风分离器下部筛网容易堵
煤在开采、储运过程中,会混入一些木块。虽然煤仓和碎煤机的入口有格栅,可以将较大的
为什么旋风分离器底部的灰斗是密封
旋风分离器底部密封灰斗的目的是防止灰尘和颗粒从底部泄漏,确保系统的环境卫生和操作
