旋风分离器的应用及工作过程
旋风分离是一种广泛应用于石油、天然气和水泥工业的分离技术。发生在旋风分离器内的分
旋风分离器及回料装置介绍
一、旋风分离器的作用:旋风分离器是循环流化床锅炉的核心部件之一。它的主要功能是将
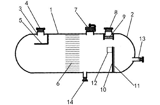
何为卧式分离器?
卧式分离器是一种用于固液相分离材料的设备。它主要由外壳、转子、转鼓和传动装置组成
旋风分离器工程应用介绍
旋风分离器设备的主要功能是尽可能除去输送气体中携带的固体颗粒杂质和液滴,达到气固
分离器不排水怎么办?
汽水分离器可以帮助我们解决环境噪声污染问题,净化空气。有时,这种企业设备也会出现
气液分离器的原理及用途
气液分离器是一种利用气体与液体在压力差作用下进行分流的装置,它广泛应用于石油、化
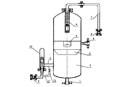
不锈钢储罐气液分离器的工作原理
不锈钢储罐气液分离器可安装在气压机出入口进行气液分离,分馏塔顶冷凝冷却器后气相除
影响旋风分离器效率的因素有哪些?
旋风除尘器的除尘效率与尘粒的粒径有关。粒径越大,效率越高。当粒径达到一定值时,旋
