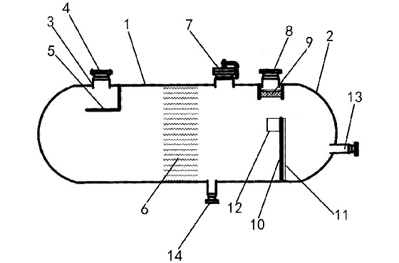
不锈钢储罐气液分离器的工作原理
发表日期:2022-09-27 10:51:20
浏览量:1818
不锈钢储罐气液分离器可安装在气压机出入口进行气液分离,分馏塔顶冷凝冷却器后气相除雾,各种气体洗涤塔、吸收塔、分析塔气相除雾。气液分离器也可用于气体除尘、油水分离、液体除杂等工业和民用应用。

根据不锈钢储罐气液分离器的要求,要求气液尽可能分离。不锈钢储罐气液分离器后,液体为液体,不含气体,气体为气体,不含液体。当然,分离器的分离效率不能达到100%。由于种种原因,实际情况是根据不同的分离要求选择不锈钢储罐气液分离器。
不锈钢储罐气液分离器的工作原理:利用不同的组分质量(重量)分离混合物(如分离方法(1、2、3、6)。气体和液体的密度不同,在相同体积下,气体的质量小于液体。混合物分离采用不同的分散粒子尺寸(如分离方法4、5)液体的分子聚集状态与气体的分子聚集状态不同,气体分子距离较远,液体分子距离较近,因此气体粒子比液体粒子小。
