气液分离器是什么?如何设计、使用?
一、什么是气液分离器?
制冷系统作为一个整体除了四大件(压缩机、冷凝器、节流装置、蒸发器)以外还有很多附属部件,如今天要介绍的——气液分离器。
什么是气液分离器?
汽液分离器的主要作用是:在启动、运行或融霜(热泵)后制冷剂液体返回时对压缩机保护,主要是通过分离并保存回气管里的制冷剂液体来实现保护。
气液分离器对系统的低压侧提供额外的内部容积,可以暂时储存多余的制冷剂液体,并且也防止了多余制冷剂流到压缩机曲轴箱造成油的稀释。所以它有时也称作低压储液器。
两点值得注意的是:
(1)非共沸制冷剂系统中不应使用汽液分离器。
(2)冷冻油的处理
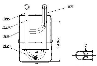
由于在分离制冷剂液体过程中,冷冻油也会被分离出来并积存在气液分离器底部,所以在气液分离器出口管和底部会有一个油孔,保证冷冻油可以回到压缩,从而避免压缩机缺油。气液分离器的基本结构如下图:

气液分离器主要分为立式,卧式和带回热装置,在一些小系统如冰箱,会用一些铜管做一个简单的气液分离器。气液分离器的工作原理是带液制冷剂进入到气液分器时由于膨胀速度下降使液体分离或打在一块挡板上,从而分离出液体。
二、气液分离器 VS 储液器
什么是储液器?什么是气液分离器?它们各自的用途是什么?
1、储液器
从它的名称本身含义就很清楚,是专门用来储存制冷剂液体,提供制冷系统循环所需的供液量,确保制冷系统的运行稳定而设置的。微型制冷系统中(如家用冰箱冷柜空调,即使用毛细管节流的系统)是不会设置储液器的,只有在小型以上的制冷装置中才会设置。
2、气液分离器
从它的名称本身含义也不难理解,它是气体和液体分离的装置。同样,从装置的名称就很容易知道它的作用了,即用来防止液体(润滑油或制冷剂)液击压缩机,保证压缩机安全正常运转。部分家用冰箱空调及以上制冷装置中都会设置,特别是在大型制冷装置中更为重要。
了解了它们各自的用途,自然就知道了它们各自的安装位置。按照制冷工程的工艺流程,储液器必须(也只能、只有)安装在冷凝器之后,调节阀(节流阀、膨胀阀)之前。
所以采用毛细管节流方式的系统中就不存在了,根本不可能存在。气液分离器,必须(也只能、只有)安装在蒸发器后,进入压缩机前,为防止系统制冷剂过多、蒸发器未完全蒸发的过潮过湿带颗粒性的混合气体、或气体中可能夹带的润滑油而专设的分离容器,有效地保护压缩机。
三、气液分离器设计和使用原则
1、 气液分离器必须有足够的容量来储存多余的液态制冷剂。
特别是热泵系统,最好不要少于充注量的50%,如果有条件最好做试验验证一下,因为用节流孔板或毛细管在制热时节流,可能会有70%的液态制冷剂回到气液分离器。还有高排气压力,低吸气压力也会让更多的液态制冷剂进入气液分离器。用热力膨胀阀会少一些,但也可能会有50%流到气液分离器,主要是在除霜开始后,外平衡感温包还是热的,所以制冷剂会大量流过蒸发器而不蒸发从而进入气液分离器。在停机时,气液分离器是系统中最冷的部件,所以制冷剂会迁移到这里,所以要保证气分有足够的容量来储存这些液态制冷剂。
2、 适当的回油孔及过滤网保证冷冻油和制冷剂回到压缩机。
回油孔的尺寸要尽量保证没液态制冷剂回流到压缩机,但也要保证冷冻油尽量可以回到压缩机。如果是运行中气液分离器中存有的液态制冷剂,推荐使用直径0.040 in (1.02mm),,如果是因为停机制冷剂迁移到气液分离器推荐使用0.055 in (1.4mm)(谷轮的应用工程手册是直接给出0.040-0.050 in(1.02-1.3 mm),并给出一般气液分离器是0.0625-0.125(1.6-3.2mm))。当然如果有条件也可能用试验优化这个尺寸,以达到最好效果。还有过滤网,谷轮推荐使用不小于30X30目(0.6mm孔径),这里推荐使用50X60 目,这里好象有点矛盾,不过考虑到在中国空调安装的水平,特别是分体式的安装,经常会有杂质进入系统,所以用小点孔径会稳妥些。
3、气液分离器的压力损失尽可能小。
冷冻油和制冷剂的流量由出口U形管的尺寸控制,所以它的尺寸也决定了制冷剂的压力损失,因为进入出口管的制冷剂是高速的。这里有一个参考值,对于R22,R134,R404A,R410A,在5℃蒸发温度,30℃吸气温度时压力损失为7kPa, 有些公司资料上压力损失是1/2F(0.5C)这应该是指饱和状态下的压力。但是不同制冷剂换算成压力又是不同的,前面提的压力损失又是针对几种制冷剂,所以这些参数只是作为参考。
在气液分离器设计时,图纸中应明确如下要求:
1、相应配管尺寸、外形尺寸
2、气密试验、强度试验等压力试验
3、洁净度、残留水分
4、进气管处筒体上应明确进行标注
5、筒体内应充入0.05MPa高纯氮气保压
6、其他关键技术要求或材料、尺寸要求
7、过虑网目数
四、气液分离器的分离原理及特点
制冷装置中的气液分离器采用的分离结构型式很多。
其分离方法也有:
(1)重力沉降;
(2)折流分离;
(3)离心力分离;
(4)丝网分离;
(5)超滤分离;
(6)填料分离等。
但综合起来分离原理只有两种:
1、利用组分质量(重量)分离
利用组分质量(重量)不同对混合物进行分离(如分离方法1、2、3、6)。气体与液体的密度不同,相同体积下气体的质量比液体的质量小。
2、利用分散系粒子大小分离
利用分散系粒子大小不同对混合物进行分离(如分离方法4、5)。液体的分子聚集状态与气体的分子聚集状态不同,气体分子距离较远,而液体分子距离要近得多,所以气体粒子比液体粒子小些。
重力沉降:
1、重力沉降原理
由于气体与液体的密度不同,液体在与气体一起流动时,液体会受到重力的作用,产生一个向下的速度,而气体仍然朝着原来的方向流动,也就是说液体与气体在重力场中有分离的倾向,向下的液体附着在壁面上汇集在一起通过排放管排出。
2、重力沉降的优缺点
优点:1)设计简单。2)设备制作简单。3)阻力小。
缺点:1)分离效率最低。2)设备体积庞大。3)占用空间多。
3、改进重力沉降的改进方法:
1)设置内件,加入其它的分离方法。
2)扩大体积。
从气液分离器的要求来看,就要求其能将气体与液体尽可能分离,经过气液分离器之后,液体就是液体,不含有气体,而气体就是气体,不含有液体。当然一个分离器实际上其分离效率不可能100%,因种种原因实际的情况是根据不同分离要求来选择气液分离器。
气液分离器分离效率的选择跟待分离的液体物性有关,如果液体粘度大,分子间作用力强,相对来说容易分离一些,所以油水分离器一般分离极数比水分离器低。同样的分离要求,较粘液体的分离器的分离方式在上述顺序中可以降低一档。但较粘的液体存在的严重问题在于液体下流时间较长。
五、油孔径计算方法
回油孔大了回油会变好,但是液体冷媒的回流也会变多,从而导致油被稀释(油的润滑作用降低)涡旋部会异常磨耗,压缩机就可能出故障。
回油孔小了回去的液体冷媒会减少了,但是因回油也减少了,机内就会供油不足,由于涡旋部的供油不足,就会出现异常磨耗,从而导致压缩机出现故障。
因此回油孔径要保证压缩机内的油量,且要抑制液体冷媒的回流使之达到油稀释的规定以下,有必要设计合适的孔径。
均压孔面积(mm2)=出口管外径面积(mm2)×(0.03~0.033)
最终的均压孔径在计算完成后必须根据试验进行验证确认。
试验标准:
(1)气液分离器在液态制冷剂液面固定的状态下停止压缩机时,液态制冷剂不会流入压缩机内。
(2)进行回油试验进行确认。以上确认可以通过在气液分离器~压缩机之间的回气管上安装视液镜进行观察。
计算实例:
建议为超低温设计的机组在做回油孔设计时,采用多回油孔的设计方法(回油孔分散到合适的高度,这样可以提高压缩机的可靠性,回油孔的总面积和一个孔时相同),如下面多回油孔示意图

六、气液分离器孔压设计
气液分离器出口管的均压孔径是按以下计算的。
均压管孔径面积(mm2) = 出口管外径断面积(mm2) × (0.03~0.033)(注)最终的均压孔径的计算,还是根据实验来决定的。
气液分离器的液态制冷剂在积存量固定的状态下停下压缩机时,液态制冷剂是不会流入压缩机内的。
*在气液分离器~压缩机之间安装视液镜进行确认。
〈计算实例〉
设计条件 出口管外径:φ22.3
均压管孔径面积(mm2) = ×0.03= 11.71
均压孔径φ(mm) = 11.71÷(1/4×3.14)= 3.9mm
初步采用φ4.0 的均压孔,后用试验进行确认。
气液分离器尽量靠近压缩机安装,有四通阀的安装在四通阀和压缩机之间,有过滤器的安装在它和压缩机之间。
